Бойлер косвенного нагрева Buderus Logalux SU750.5-C
Описание Buderus Logalux SU500.5-C, SU750.5-E, SU1000.5-E
Вертикальные баки-водонагреватели косвенного нагрева Buderus Logalux SU500.5-C, SU750.5-E, SU1000.5-E обеспечивают процесс нагрева воды в баке независимо от рабочих циклов отопительного котла. Важнейшим критерием эффективной передачи тепла бойлеров является размер греющих поверхностей.
Нагрев воды бойлерами Buderus Logalux SU500.5-C, SU750.5-E, SU1000.5-E
Баки-водонагреватели Buderus SU500, SU750 и SU1000 осуществляют подогрев воды для контура ГВС и аккумулирование её с поддержанием стабильной температуры. Эффективность теплопередачи главным образом зависит от размера нагревательных поверхностей. Их основная цель не зависит от того, в какой рабочий цикл вошел отопительный котел. Процесс нагрева происходит непосредственно в гладкотрубном теплообменнике. Его греющий контур допускает максимальные показатели температуры воды до 160 °C и давления до 16 бар.Отдельно хочется отметить что в данніх моделях предусмотрена возможность дополнительной установки электронагревательного элемента перед началом эксплуатации или в летний период, когда отопление не требуется.
Купить баки-водонагреватели Buderus Logalux SU500.5-C, SU750.5-E и SU1000.5-E Вы можете, оформив заказ через наш сайт, а также по телефону горячей линии ✆ (044)355-00-99.
Высокая эксплуатационная мощность обеспечивается внутренним гладкотрубным теплообменником с большой теплоотдающей поверхностью. Бойлеры Buderus SU500.5-C, SU750.5-E, SU1000.5-E пригодны для приготовления воды для ГВС самого высокого качества благодаря покрытию термоглазурью DUOCLEAN MKT, разработанной в исследовательском центре Будерус.
Конструкция водонагревателей Buderus SU500.5-C, SU750.5-E, SU1000.5-E
Напольный бак Logalux SU500.5-C, SU750.5-E, SU1000.5-E предполагает вертикальный тип монтажа. По сравнению с аналогичным оборудованием других производителей, приобретая бак Logalux, цена эксплуатационных затрат значительно снижается. Решение купить водонагреватель Buderus Logalux SU обеспечит Вас гарантийным профессиональным техобслуживанием в течении длительного периода. Гладкотрубный теплообменник бойлера обладает возможность точной регулировки температуры воды не допускает перегрев и обеспечивая равномерный прогрев полного объема воды, а также высокую гигиеничность. Антикоррозийная теплоотражающая эмаль DUOCLEAN представляет собой композиционный материал из стали и стекла. В роли дополнительной защиты выступает магниевый анод. В процессе подогрева вода контактирует исключительно с гигиеничными материалами.
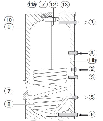
Конструкция Logalux SU500.5-C, SU750.5-E, SU1000.5-E
- Выход горячей воды
- Подающая линия бака-водонагревателя
- Погружная гильза для датчика температуры воды, нагреваемой от теплогенератора
- Подключение циркуляции
- Обратная линия бака-водонагревателя
- Вход холодной воды
- Люк для техобслуживания и чистки
- Теплообменник для нагрева от теплогенератора, эмалированная гладкая труба
- Бак, эмалированная сталь
- Теплоизоляция
- Заводская табличка, 500 л (a) Заводская табличка, 750/1000 л (b)
- Электрически изолированный, встроенный магниевый анод
- Полистирольная крышка
Преимущества Logalux SU500.5-C, SU750.5-E, SU1000.5-E
- Соответствие качества воды.
- Широкий спектр применения с различными типами воды, при общем показателе жесткости воды от 2 °dH.
- Нейтральная реакция на качество подаваемой воды.
- Сверхустойчивость защитного слоя к воздействиям воды любого состава.
- Идеально гладкая и твердая внутренняя поверхность с химически нейтральными свойствами.
- Соответствие бактериологическим и гигиеничным стандартам.
- Доступность очистки.
- Теплоударная устойчивость, отсутствие трещин при температурных перепадах от -30 до +220 °C.
- Отсутствие образований ржавчины.
- Устойчивость к кислородному воздействию, отсутствие накопления на дне осадков.
Комплектация Buderus Logalux SU500.5-C, SU750.5-E, SU1000.5-E
- Резервуар бака (поставляется в полиэтиленовом пакете на палете)
- Теплоизоляция с обшивкой
Дополнительные комплектующие для Buderus Logalux SU500.5-C, SU750.5-E, SU1000.5-E
- Теплообменник с ребристыми трубами
- Электронагревательный элемент
- Крышка смотрового люка
- Инертный анод
- Комплект теплоизоляции для подключения греющего контура
- Исполнение для морской воды
- Изолирующая подставка для бойлера
Технические характеристики и особенности Buderus Logalux SU
Современная универсальная концепция Logalux SU500.5-C, SU750.5-E, SU1000.5-E
- Бак-водонагреватель Logalux SU снабжен приварным гладкотрубным теплообменником с терморегулятором, кабель-каналом и температурным датчиком.
- Благодаря большой теплоотдающей поверхности гладкотрубного теплообменного элемента достигаются высокомощные эксплуатационные параметры.
- В зависимости от емкости, сертифицировано три типоразмера бойлера Buderus: 500, 750 и 1000 л.
- Вертикальные водонагреватели Logalux SU500, SU750, SU1000 отвечает всем установленным стандартам.
- Покрытие из специально разработанной термоглазури DUOCLEAN MKT обеспечивает подачу высококачественной воды для ГВС.
- Дополнительная комплектация системой управления теплоподачи в контуре ГВС и нагревательным элементом.
- Возможность купить водонагреватель, адаптированный под специфические условия эксплуатации.
