Бак-водонагреватель Buderus Logalux SU160/5W
Вертикальные баки-водонагреватели Buderus Logalux SU160/5, SU200/5E, SU300/5, SU400/5 с приварным гладкотрубным теплобменником применяется для горячего водоснабжения и отопления помещений с небольшим водоразбором. В бойлерах косвенного нагрева Logalux SU происходит нагрев воды для греющего контура и контура ГВС и аккумулирование её в нагретом состоянии.
Бойлеры косвенного нагрева Buderus Logalux SU160/5, SU200/5E, SU300/5, SU400/5
Нагревательные бойлеры Buderus Logalux SU способны не только нагревать воду для контура ГВС, но и поддерживать и накапливать ее в таком состоянии. В любом баке скорость нагрева воды зависит от площади и размера нагревательных элементов. Баки-водонагреватели Buderus Logalux SU способны нагревать воду и поддерживать ее в таком состоянии независимо от того: включено отопление или нет. Нагрев воды происходит в гладкотрубном теплообменнике, в котором есть греющий контур.
В греющем контуре находится вода, которая может нагреваться до 180 градусов и иметь максимально избыточное давление до 16 бар. В моделях бойлеров Buderus SU160/5, SU200/5E, SU300/5 и SU400/5 предусмотрен инспекционный люк. Он предназначен для дополнительного нагревателя воды. Если заказать крышку смотрового люка, можно вмонтировать электрический нагревательный элемент в бойлер.
Купить баки-водонагреватели Buderus Logalux SU160/5, SU200/5E, SU300/5 и SU400/5 Вы можете, оформив заказ через наш сайт, а также по телефону горячей линии ✆ (044)355-00-99.
Важнейшим критерием эффективной передачи тепла является размер греющих поверхностей. Цель – обеспечить процесс нагрева воды в баке независимо от рабочих циклов отопительного котла. Такое функционирование реализовано в обычной комбинации баков-водонагревателей Logalux SU400/5, SU300/5, SU200/5E и SU160/5 с отопительным котлом.
Конструкция водонагревателей Buderus Logalux SU
Бойлер косвенного нагрева Logalux SU выполнен в виде закрытого бака и нагревает воду под давлением. Корпус бойлера изготовлен из стали, покрытой термоглазурью. Баки-водонагреватели Buderus Logalux SU160/5, SU200/5E, SU300/5, SU400/5 отличаются от других бойлеров своими качественными показателями греющей поверхности гладкотрубного теплообменника. А именно отсутствует перегрев воды благодаря регулятору температуры высокой точности. Прогрев воды происходит полностью и равномерно по всему объему бака за счет нагревательного элемента, расположенного в нижней части бака.
Уход за водонагревателем Buderus Logalux SU в период эксплуатации осуществляется с помощью специального люка, который можно легко открыть, чтобы почистить элементы. В качестве теплоизоляции применяется жесткий пенополиуретан, толщиной до 50 мм. Сверху теплоизоляция обшита стальным листом синего или белого цвета.
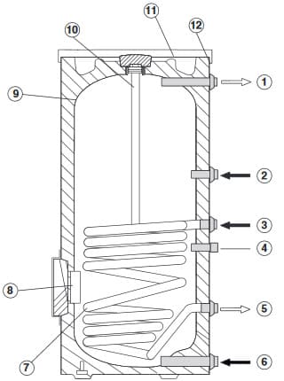
Конструкция Logalux SU160/5, SU200/5E
- Выход горячей воды
- Подключение циркуляции
- Подающая линия бака
- Гильза датчика температуры воды, нагреваемой в котле
- Обратная линия бака
- Вход холодной воды
- Теплообменник для нагрева от котла, эмалированная гладкая труба
- Муфта для установки электронагревательного элемента (SU200/5E)
- Электрически изолированный встроенный магниевый анод
- Бак, эмалированная сталь
- Облицовка, окрашенный стальной лист с теплоизоляцией из твёрдого полиуретанового пенопласта толщиной 50 мм
- Люк для техобслуживания и чистки
- Полистироловая крышка
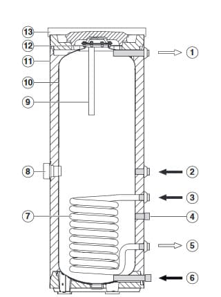
Конструкция Logalux SU300/5, SU400/5
- Выход горячей воды
- Подключение циркуляции
- Подающая линия бака
- Гильза датчика температуры воды, нагреваемой в котле
- Обратная линия бака
- Вход холодной воды
- Теплообменник для нагрева от котла, эмалированная гладкая труба
- Люк для техобслуживания и чистки
- Бак, эмалированная сталь
- Встроенный магниевый анод
- Полистироловая крышка
- Облицовка, окрашенный стальной лист с теплоизоляцией из твёрдого полиуретанового пенопласта толщиной 50 мм
Преимущества бойлеров Buderus Logalux SU
Водонагреватель Logalux SU имеет высокие антикоррозийные качества. Покрытие бойлера отвечает требованиям DIN 4753 (требования по коррозийной защите). Данные свойства проверены в течение длительного срока эксплуатации. Теплоотражающая эмаль DUOCLEAN MKT, которой бойлер покрыт изнутри – это гигиеничный материал, поэтому нагреватели производства Будерус гарантируют самые высокие эксплуатационные показатели.
- Соответствие всем положениям и нормативным актам о приготовлении воды питьевого качества.
- Воду можно применять в независимости от качества труб в трубопроводе.
- Внутренняя поверхность водонагревателя имеет высокие гигиенические показатели.
- Бойлер легко чистить и обслуживать.
- Поверхность бака устойчива к внешним воздействиям и может выдержать воздействие температур в диапазоне от -30 до +220 °C.
- Поверхность не подвержена ржавчине, благодаря особой системе защиты DUOCLEAN MKT и магниевому аноду, а также не подвержена образованию накипи.
Дополнительные комплектующие для Buderus Logalux SU
- Теплообменник с ребристыми трубами
- Электронагревательный элемент
- Крышка смотрового люка
- Термометр
- Соединительный трубопровод котел-бак
- Опорные болты
Установка, монтаж, сервис, доставка Logalux SU160/5, SU200/5E, SU300/5, SU400/5
Компания Київгазприлад производит сервис, пусконаладку и монтаж водонагревателей Buderus Logalux SU160/5, SU200/5E, SU300/5, SU400/5, а также установку оборудования горячего водоснабжения дома, коттеджа в Киеве, Киевской области и других городах Украины.
Купить бойлер Buderus Logalux SU160/5, SU200/5E, SU300/5, SU400/5 по доступной цене Вы можете связавшись с нашим call-центром по телефону ✆ (044)355-00-99, а также посредством заказа через сайт.
Подробнее
| КОД | Цвет | Доступность | Цена | ||
|---|---|---|---|---|---|
|
|
8718543058
|
Предзаказ
|
40560 грн. | ||
|
|
8718543059
|
Предзаказ
|
40560 грн. |
